螺丝粉“闻臭师”年入百万!商标早被注册?
近日,“螺蛳粉闻臭师年入百万”的话题登上微博热搜,达到2.2亿阅读量。

热搜中的闻臭师的主要工作其实都和螺蛳粉的灵魂元素——酸笋息息相关。
闻臭师一年中有三四个月在山里指导笋农种笋、制作酸笋并负责整个工厂的酸笋收购工作,而收上来的酸笋也要经过他严格的质量把控。
还有其他闻臭师主要工作是用鼻子对臭鸡蛋味、霉腐味、粪臭味甚至异常的香味等进行辨别,划定异味级别,确认是否在规定的异味排放标准内。
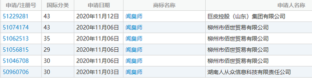
小知查询中国商标局官网显示,目前有关“闻臭师”商标申请记录共6条,其中包含第29类食品、第30类方便食品、第43类餐饮住宿等类别,商标状态为注册申请中。

而最早的“闻臭师”商标已于2008年11月28日被申请,距今已经12年了,商标仍处于等待实质审查阶段。
闻臭师这个工种存在已久,其商标也已被申请注册已久,却迟迟未通过申请。最大的原因就是其缺乏商标应有的显著特征,标识表示的含义与商品的属性关联性也较弱。另外企业在申请注册商标时切忌盲目追求热点,提高商标与商品的关联性,增加通过申请的概率。
请先 登录后发表评论 ~