商标聚焦丨华为转让“尊界”商标;小米注册“人车家”商标
1.继转让“问界”商标后,华为技术有限公司近日将持有的十余枚“尊界”“MAEXTRO”“MASTRO”等文字和图形商标转让至安徽江淮汽车集团股份有限公司,商标国际分类均为运输工具。

2.近日,与辉同行(北京)科技有限公司申请注册多枚“与辉同行好读书”商标,国际分类为广告销售、办公用品、教育娱乐等,当前商标状态均为等待实质审查。此前,该公司已申请注册多枚“与辉同行破万卷”“与辉同行阅山河”等商标。
3.广东小鹏汽车科技有限公司近日申请注册“XPENG IRONMAN”“Iron”“XPENG IRON”商标,国际分类均为科学仪器,当前商标状态均为等待实质审查。
4.近日,腾讯科技(深圳)有限公司提交申请一件“腾讯掼蛋”商标,指定在第9类-科学仪器,商标正在申请中。

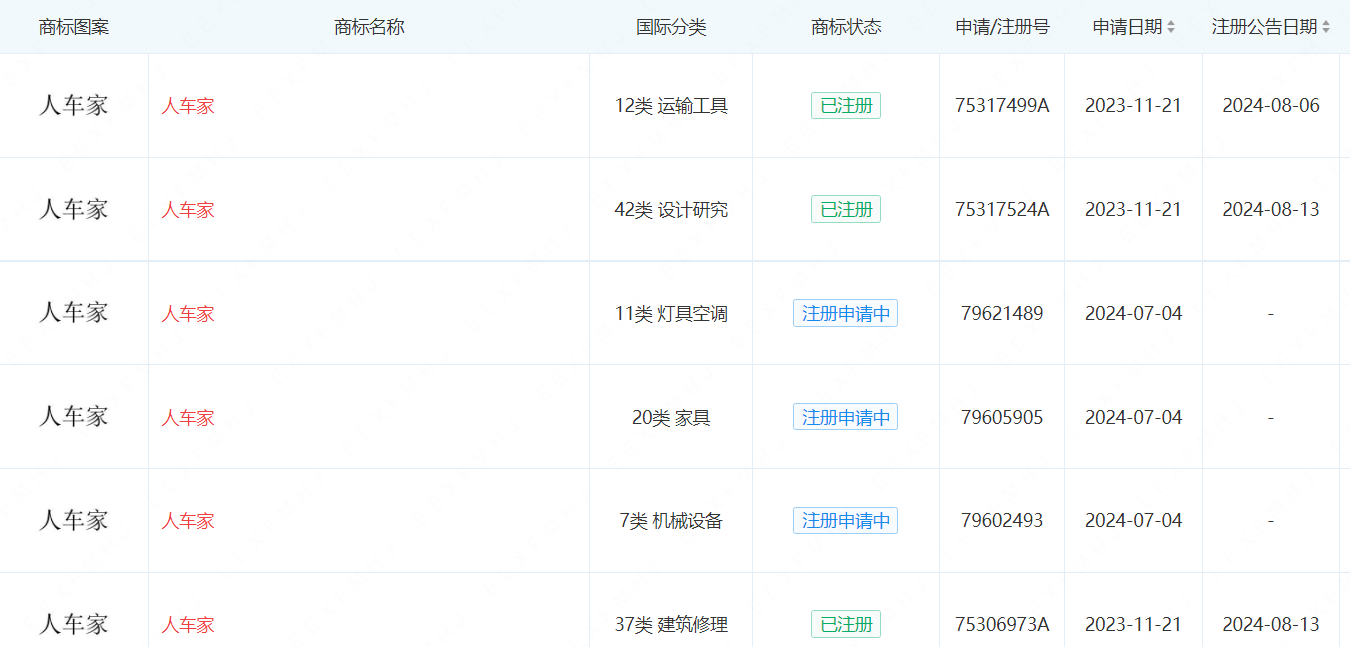
5.小米科技有限责任公司近期提交一件“人车家”商标,类别是第28类-健身器材。据查,小米早先已成功注册多件“人车家”商标。

请先 登录后发表评论 ~